ул. Монтажников, 23/8
Главная > Статьи > Гермоввод

 

Гермоввод

Гермоввод.

Гермоввод — это манжета из прочной и эластичной маслобензостойкой резины, сложной формы, с одной стороны имеющая крепление к поверхности, состоящее из прижимного оцинкованного фланца, с другой стороны червячный хомут из стали для плотного прижатия к трубе. Служит для ввода труб (ПНД, Стальных, гофрированных), проводов и кабелей, через ж/б стены, кирпичную кладку, пластик, септики, кессоны, жироуловители, нефтеуловители, металл, дерево, стекло и др. Предотвращает попадание воды, газа и ядовитых паров, через щели и мелкие засоры.

Гермоввод сохраняет целостность труб, предотвращает вибрацию, компенсирует напряжение при посадке грунта и придает жесткость конструкции.  

Гермоввод размеры поставляемые ООО «АОС».

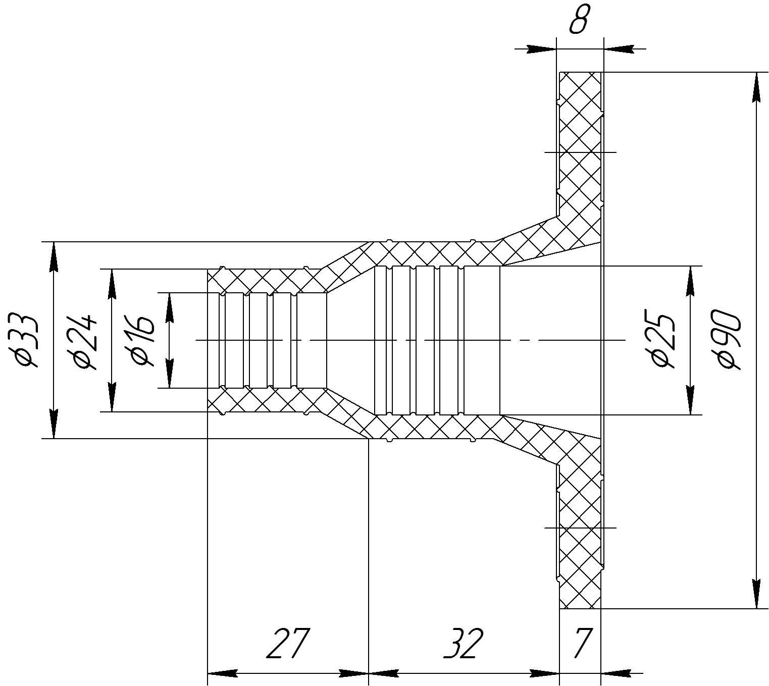
Гермоввод 16х25 мм (ГВР) Гермоввод Резиновый

Гермоввод 32х40 мм  (ГВР) Гермоввод Резиновый

Гермоввод 50х57 мм  (ГВР) Гермоввод Резиновый

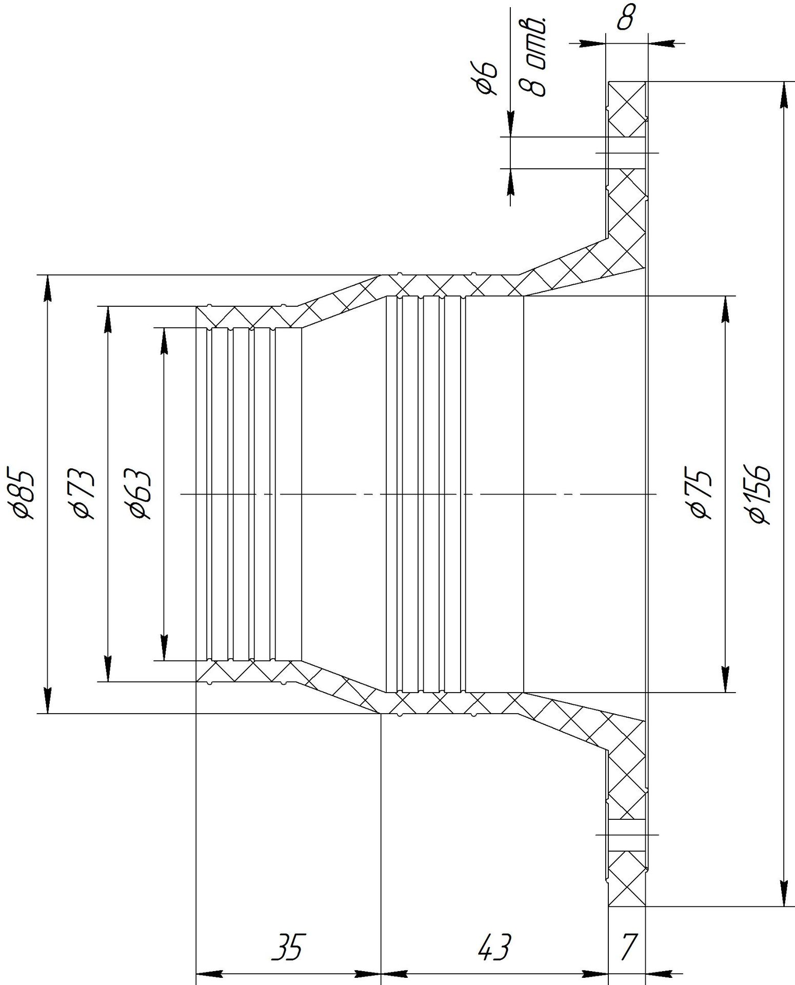
Гермоввод 63х75 мм  (ГВР) Гермоввод Резиновый

Гермоввод 63х90 мм  (ГВР) Гермоввод Резиновый

Гермоввод 90х110 мм  (ГВР) Гермоввод Резиновый

Гермоввод 125х133 мм  (ГВР) Гермоввод Резиновый

Гермоввод 159х200 мм  (ГВР) Гермоввод Резиновый

Гермоввод 219х250 мм  (ГВР) Гермоввод Резиновый

В стандартный комплект поставки Гермоввод Резиновый (ГВР) входит:

  • манжета из маслобензостойкой резины (МБС В14-1)
  • фланец стальной оцинкованный
  • червячный стальной хомут
  • метизы для крепления (болты, шайбы и гайки)

Все металлические части гермоввода обработаны оцинковкой, что надежно защищает изделия от коррозии. Изделие является необходимым элементом как для производственных и общественных помещений, так и для частных и многоквартирных домов. Благодаря удобному креплению, гермоввод легко монтируется на стандартные трубы диаметром от 16 до 250 мм. и так же легко демонтируется без применения специальных инструментов.

Возможные комплектации комплекта поставки Гермоввод Резиновый (ГВР)

Комплектация 1
1. манжета из маслобензостойкой резины (МБС В14-1)-уплотнитель отверстиями) ф 16…250 — 1 шт.;
2. фланец стальной оцинкованный  отверстиями) — 1 шт.;
3. червячный стальной хомут — 1 шт.;
4. метизы (болты — 8 шт.; шайбы — 8 шт.; гайки — 8 шт.)
5. инструкция по монтажу — 1 шт.;
6. упаковка — 1 шт.


Комплектация 1/1
1. манжета из маслобензостойкой резины (МБС В14-1)-уплотнитель (без отверстий) ф 16…250 — 1 шт.;
2. фланец стальной оцинкованный с отверстиями — 1шт.;
3. червячный стальной хомут — 1 шт.;
4. метизы (саморезы — 8 шт.; шайбы — 8 шт)
5. инструкция по монтажу — 1 шт.;
6. упаковка — 1 шт. 

Комплектация 2
1. манжета из маслобензостойкой резины (МБС В14-1)-уплотнитель отверстиями) ф 16…250 — 1 шт.;
2. фланец стальной оцинкованный с отверстиями — 1 шт.;
3. кольцо со шпильками — 1 шт.;
4. червячный стальной хомут — 1 шт.;
5. метизы (гайки — 8 шт.; шайбы — 8 шт.)
6. инструкция по монтажу — 1 шт.;
7. упаковка — 1 шт.
 
Комплектация 2/1
1. манжета из маслобензостойкой резины (МБС В14-1)-уплотнитель ф 16…250 — 2 шт.;
2. фланец стальной оцинкованный с отверстиями — 2 шт.;
3. червячный стальной хомут — 1 шт.;
4. метизы (болты или саморезы — 8 шт.; гайки — 8 шт.; шайбы — 8 шт.)
5. инструкция по монтажу — 1 шт.;
6. упаковка 

 

Гермоввод Резиновый (ГВР) сфера применения:

Строительство. 

Основным назначением резиновых гермовводов является защита сооружений от проникновения водных, ядовитых испарений и газа во внутрь. Уплотнительный гермоввод ГВР разработан также и для амортизации радиальных осевых смещений трубопроводов. Эластичный гермоввод из высококачественной резины идеально амортизирует движения и особенно хорошо подходит для проходки стен и перекрытий гибкими теплоизолированными трубами ППУ на сооружениях без гидроизоляционного материала. 

Применяется в местах прохождения труб через стены, фундаменты, колодцы, емкости, подвальные помещения зданий и сооружений. Гермовводы придают прочность всей трубной конструкции.

Гермоввод ГВР, устанавливаются в любом здании, имеющем трубные коммуникации включая:

  • Гражданские здания (жилые дома, гостиницы, общежития)
  • Сельскохозяйственные  (животноводческие фермы, теплицы, птицефермы и др.)
  • Промышленные здания (заводы, фабрики, электростанции и др.)
  • Строительство промышленных и транспортных сооружений
  • Общественные здания (административные, детские учреждения, учебные, культурно-просветительные, торговые, коммунальные, учреждения здравоохранения и др.)

Нефтегазовая отрасль.

В отрасли (нефте- и газодобычи) под понятием гермоввод понимают следующие, устройство уменьшающее или вовсе предотвращающее утечку газа или жидких нефтепродуктов через зазоры. Гермовводы изготавливаются из маслобензостойкой резины (МБС В14-1), и область их применения очень большая. Также гермоввод ГВР предотвращает попадания в соединение пыли и грязи. 

Химическая отрасль.

Процесс производства на химических заводах сопряжен с опасностью возникновения аварийной ситуации, так как в ряде помещений таких заводов могут храниться, перерабатываться и транспортироваться токсичные взрыво пожароопасные вещества. Особого внимание требуют цеха, в которых сосредоточено большое количество технологического оборудования, предназначенного для транспортирования взрывопожароопасных веществ. При этом необходимо отметить, что одними из основных источников образования взрывопожароопасной газопаровоздушной среды являются работающее оборудование (станки, насосы, компрессоры, агрегаты и др.). Таким образом, степень герметичности опасных помещений напрямую будет влиять на количество и концентрацию выделяемых токсичных веществ.

Гермоввод Резиновый (ГВР) преимущества:

  • амортизация радиальных и осевых смещений
  • предотвращение повреждений труб при посадке фундамента
  • уплотнение от напорных вод 
  • амортизация осадки в зависимости от диаметра трубы и отверстия в стене.

Гермоввод Резиновый (ГВР) монтаж.

Гермовводы (ГВР) предназначены для обводки пластиковых, металлических и гофрированных труб в России и СНГ.

Гермовводы для труб

Комплектующие для Гермовводов

Гермовводы для кабеля

Гермовводы для труб

Гермоввод ГВР Ф 16/25 Гермоввод ГВР Ф 32/40 Гермоввод ГВР Ф 50/57
Гермоввод ГВР Ф 63/75 Гермоввод ГВР Ф 63/90 Гермоввод ГВР Ф 90/110
Гермоввод ГВР Ф 125/133 Гермоввод ГВР Ф 159/200 Гермоввод ГВР Ф 219/250

 

Комплектующие для Гермовводов

Манжета РУМ Ф 16/25 Манжета РУМ Ф 32/40 Манжета РУМ Ф 50/57
Манжета РУМ Ф 63/75 Манжета РУМ Ф 63/90 Манжета РУМ Ф 90/110
Манжета РУМ Ф 125/133 Манжета РУМ Ф 159/200 Манжета РУМ Ф 219/250

 

Гермовводы для кабеля

Гермоввод ГВкаб Ф 40/50 Гермоввод ГВкаб Ф 57/63 Гермоввод ГВкаб Ф 89/110

 

Гермоввод ГВР Ф 16/25


Внутренний диаметр изделия Высота изделия Наружный диаметр изделия Количество установочных отверстий Масса изделия
Ф 16/25 мм 66,5 мм Ф 90 мм 4 0,25 ÷ 0,3 кг в зависимости от комплектации
Комплектация 1
Комплектация 1/1
Комплектация 1/2
Комплектация 2
Комплектация 2/1
Резиновая уплотнительная манжета отверстиями) — 1 шт; Кольцо-фланец отверстиями) — 1 шт; Хомут — 1 шт;
Болты -4 шт;
Гайки — 4 шт; Прорезиненные шайбы — 4 шт;
Инструкция по монтажу — 1 шт;
Упаковка — 1 шт.
Резиновая уплотнительная манжета отверстиями) — 1 шт; Кольцо-фланец отверстиями) — 1 шт; Хомут — 1 шт;
Саморезы -4 шт; Прорезиненные шайбы — 4 шт;
Инструкция по монтажу — 1 шт;
Упаковка — 1 шт.
Резиновая уплотнительная манжета отверстиями) — 1 шт; Кольцо-фланец отверстиями) — 1 шт; Хомут — 1 шт;
Болты -4 шт; Прорезиненные шайбы — 4 шт;
Анкера забивные — 4 шт;
Инструкция по монтажу — 1 шт;
Упаковка — 1 шт.
Резиновая уплотнительная манжета отверстиями) — 1 шт; Кольцо-фланец отверстиями) — 1 шт;
Кольцо-фланец (со шпильками) — 1 шт; Хомут — 1 шт; 
Гайки — 4 шт; Прорезиненные шайбы — 4 шт;
Инструкция по монтажу — 1 шт;
Упаковка — 1 шт.
Резиновая уплотнительная манжета отверстиями) — 1 шт; Кольцо-фланец отверстиями) — 1 шт; Хомут — 1 шт;
Болты -4 шт;
Шайбы — 4 шт;
Гайки — 4 шт; Инструкция по монтажу — 1 шт;
Упаковка — 1 шт.

 

Гермоввод ГВР Ф 32/40

Внутренний диаметр изделия Высота изделия Наружный диаметр изделия Количество установочных отверстий Масса изделия
Ф 32/40 мм 66,5 мм Ф 105 мм 4 0,25 ÷ 0,3 кг в зависимости от комплектации
Комплектация 1 Комплектация 1/1 Комплектация 1/2 Комплектация 2 Комплектация 2/1
Резиновая уплотнительная манжета отверстиями) — 1 шт; Кольцо-фланец отверстиями) — 1 шт; Хомут — 1 шт;
Болты -4 шт; 
Гайки — 4 шт;
Шайбы — 4 шт; 
Инструкция по монтажу — 1 шт; 
Упаковка — 1 шт. 
Резиновая уплотнительная манжета (без отверстиями) — 1 шт; Кольцо-фланец отверстиями) — 1 шт; Хомут — 1 шт;
Саморезы -4 шт; Прорезиненные шайбы — 4 шт; 
Инструкция по монтажу — 1 шт; 
Упаковка — 1 шт. 
Резиновая уплотнительная манжета отверстиями) — 1 шт; Кольцо-фланец отверстиями) — 1 шт; Хомут — 1 шт; 
Болты -4 шт; Прорезиненные шайбы — 4 шт;
Анкера забивные — 4 шт; 
Инструкция по монтажу — 1 шт; 
Упаковка — 1 шт.
Резиновая уплотнительная манжета отверстиями) — 1 шт; Кольцо-фланец отверстиями) — 1 шт;
Кольцо-фланец (со шпильками) — 1 шт; Хомут — 1 шт;  
Гайки — 4 шт; Прорезиненные шайбы — 4 шт; 
Инструкция по монтажу — 1 шт; 
Упаковка — 1 шт.
Резиновая уплотнительная манжета отверстиями) — 1 шт; Кольцо-фланец отверстиями) — 1 шт; Хомут — 1 шт;
Болты -4 шт; 
Прорезиненные шайбы — 4 шт;
Гайки — 4 шт; Инструкция по монтажу — 1 шт;
Упаковка — 1 шт. 


Гермоввод ГВР Ф 50/57

Внутренний диаметр изделия Высота изделия Наружный диаметр изделия Количество установочных отверстий Масса изделия
Ф 50/57 мм 76 мм Ф 136 мм 8 0,5 ÷ 0,7 кг в зависимости от комплектации
Комплектация 1
Комплектация 1/1
Комплектация 1/2
Комплектация 2
Комплектация 2/1
Резиновая уплотнительная манжета отверстиями) — 1 шт; Кольцо-фланец отверстиями) — 1 шт; Хомут — 1 шт;
Болты -8 шт; 
Гайки — 8 шт; Прорезиненные шайбы — 8 шт; 
Инструкция по монтажу — 1 шт; 
Упаковка — 1 шт. 
Резиновая уплотнительная манжета (без отверстиями) — 1 шт; Кольцо-фланец отверстиями) — 1 шт; Хомут — 1 шт;
Саморезы — 8 шт; Прорезиненные шайбы — 8 шт; 
Инструкция по монтажу — 1 шт; 
Упаковка — 1 шт. 
Резиновая уплотнительная манжета отверстиями) — 1 шт; Кольцо-фланец отверстиями) — 1 шт; Хомут — 1 шт; 
Болты — 8 шт;
Гайки — 8 шт; 
Прорезиненные шайбы — 8 шт;
Анкера забивные — 8 шт; 
Инструкция по монтажу — 1 шт; 
Упаковка — 1 шт.
Резиновая уплотнительная манжета отверстиями) — 1 шт; Кольцо-фланец отверстиями) — 1 шт;
Кольцо-фланец (со шпильками) — 1 шт; Хомут — 1 шт;  
Гайки — 8 шт; Прорезиненные шайбы — 8 шт; 
Инструкция по монтажу — 1 шт; 
Упаковка — 1 шт.
Резиновая уплотнительная манжета отверстиями) — 1 шт; Кольцо-фланец отверстиями) — 2 шт; Хомут — 1 шт;
Болты — 8 шт; 
Прорезиненные шайбы — 8 шт;
Гайки — 8 шт; Инструкция по монтажу — 1 шт;
Упаковка — 1 шт. 


Гермоввод ГВР Ф 63/75

Внутренний диаметр изделия Высота изделия Наружный диаметр изделия Количество установочных отверстий Масса изделия
Ф 63/75 мм 85,5 мм Ф 156 мм 8 0,5 ÷ 0,8 кг в зависимости от комплектации
Комплектация 1
Комплектация 1/1
Комплектация 1/2
Комплектация 2
Комплектация 2/1
Резиновая уплотнительная манжета отверстиями) — 1 шт; Кольцо-фланец отверстиями) — 1 шт; Хомут — 1 шт;
Болты — 8 шт; 
Гайки — 8 шт; Прорезиненные шайбы — 8 шт; 
Инструкция по монтажу — 1 шт; 
Упаковка — 1 шт. 
Резиновая уплотнительная манжета (без отверстиями) — 1 шт; Кольцо-фланец отверстиями) — 1 шт; Хомут — 1 шт;
Саморезы — 8 шт; Прорезиненные шайбы — 8 шт; 
Инструкция по монтажу — 1 шт; 
Упаковка — 1 шт. 
Резиновая уплотнительная манжета отверстиями) — 1 шт; Кольцо-фланец отверстиями) — 1 шт; Хомут — 1 шт; 
Болты — 8 шт; Прорезиненные шайбы — 8 шт;
Анкера забивные — 8 шт; 
Инструкция по монтажу — 1 шт; 
Упаковка — 1 шт.
Резиновая уплотнительная манжета отверстиями) — 1 шт; Кольцо-фланец отверстиями) — 1 шт;
Кольцо-фланец (со шпильками) — 1 шт; Хомут — 1 шт;  
Гайки — 8 шт; Прорезиненные шайбы — 8 шт; 
Инструкция по монтажу — 1 шт; 
Упаковка — 1 шт.
Резиновая уплотнительная манжета отверстиями) — 1 шт; Кольцо-фланец отверстиями) — 1 шт; Хомут — 1 шт;
Болты -4 шт; 
Гайки — 4 шт; Инструкция по монтажу — 1 шт;
Упаковка — 1 шт. 

 

Гермоввод ГВР Ф 63/90

Внутренний диаметр изделия Высота изделия Наружный диаметр изделия Количество установочных отверстий Масса изделия
Ф 63/90 мм 95.5 мм Ф 170 мм 8 0,7 ÷ 1,0 кг в зависимости от комплектации
Комплектация 1
Комплектация 1/1
Комплектация 1/2
Комплектация 2
Комплектация 2/1
Резиновая уплотнительная манжета отверстиями) — 1 шт; Кольцо-фланец отверстиями) — 1 шт; Хомут — 1 шт;
Болты — 8 шт; 
Гайки — 8 шт; Прорезиненные шайбы — 8 шт; 
Инструкция по монтажу — 1 шт; 
Упаковка — 1 шт. 
Резиновая уплотнительная манжета (без отверстиями) — 1 шт; Кольцо-фланец отверстиями) — 1 шт; Хомут — 1 шт;
Саморезы — 8 шт; Прорезиненные шайбы — 8 шт; 
Инструкция по монтажу — 1 шт; 
Упаковка — 1 шт. 
Резиновая уплотнительная манжета отверстиями) — 1 шт; Кольцо-фланец отверстиями) — 1 шт; Хомут — 1 шт; 
Болты — 8 шт; Прорезиненные шайбы — 8 шт;
Анкера забивные — 8 шт; 
Инструкция по монтажу — 1 шт; 
Упаковка — 1 шт.
Резиновая уплотнительная манжета отверстиями) — 1 шт; Кольцо-фланец отверстиями) — 1 шт;
Кольцо-фланец (со шпильками) — 1 шт; Хомут — 1 шт;  
Гайки — 8 шт; Прорезиненные шайбы — 8 шт; 
Инструкция по монтажу — 1 шт; 
Упаковка — 1 шт.
Резиновая уплотнительная манжета отверстиями) — 1 шт; Кольцо-фланец отверстиями) — 2 шт; Хомут — 1 шт;
Болты — 8 шт; 
Прорезиненные шайбы — 8 шт;
Гайки — 8 шт; Инструкция по монтажу — 1 шт;
Упаковка — 1 шт. 

Гермоввод ГВР Ф 90/110

Внутренний диаметр изделия Высота изделия Наружный диаметр изделия Количество установочных отверстий Масса изделия
Ф 90/110 мм 95,5 мм Ф 190 мм 8 0,8 ÷ 1,1 кг в зависимости от комплектации
Комплектация 1
Комплектация 1/1
Комплектация 1/2
Комплектация 2
Комплектация 2/1
Резиновая уплотнительная манжета отверстиями) — 1 шт; Кольцо-фланец отверстиями) — 1 шт; Хомут — 1 шт;
Болты — 8 шт; 
Гайки — 8 шт; Прорезиненные шайбы — 8 шт; 
Инструкция по монтажу — 1 шт; 
Упаковка — 1 шт. 
Резиновая уплотнительная манжета (без отверстиями) — 1 шт; Кольцо-фланец отверстиями) — 1 шт; Хомут — 1 шт;
Саморезы — 8 шт; Прорезиненные шайбы — 8 шт; 
Инструкция по монтажу — 1 шт; 
Упаковка — 1 шт. 
Резиновая уплотнительная манжета отверстиями) — 1 шт; Кольцо-фланец отверстиями) — 1 шт; Хомут — 1 шт; 
Болты — 8 шт; Прорезиненные шайбы — 8 шт;
Гайки- 8 шт; 
Инструкция по монтажу — 1 шт; 
Упаковка — 1 шт.
Резиновая уплотнительная манжета отверстиями) — 1 шт; Кольцо-фланец отверстиями) — 1 шт;
Кольцо-фланец (со шпильками) — 1 шт; Хомут — 1 шт;  
Гайки — 8 шт; Прорезиненные шайбы — 8 шт; 
Инструкция по монтажу — 1 шт; 
Упаковка — 1 шт.
Резиновая уплотнительная манжета отверстиями) — 1 шт; Кольцо-фланец отверстиями) — 2 шт; Хомут — 1 шт;
Болты — 8 шт; 
Прорезиненные шайбы — 8 шт;
Гайки — 8 шт; Инструкция по монтажу — 1 шт;
Упаковка — 1 шт. 

Гермоввод ГВР Ф 125/133

Внутренний диаметр изделия Высота изделия Наружный диаметр изделия Количество установочных отверстий Масса изделия
Ф 125/133 мм 92,5 мм 214 мм 8 0,9 ÷ 1,3 в зависимости от комплектации
Комплектация 1
Комплектация 1/1
Комплектация 1/2
Комплектация 2
Комплектация 2/1
Резиновая уплотнительная манжета отверстиями) — 1 шт; Кольцо-фланец отверстиями) — 1 шт; Хомут — 1 шт;
Болты — 8 шт; 
Гайки — 8 шт; Прорезиненные шайбы — 8 шт; 
Инструкция по монтажу — 1 шт; 
Упаковка — 1 шт. 
Резиновая уплотнительная манжета (без отверстий) — 1 шт; Кольцо-фланец отверстиями) — 1 шт; Хомут — 1 шт;
Саморезы — 8 шт; Прорезиненные шайбы — 8 шт; 
Инструкция по монтажу — 1 шт; 
Упаковка — 1 шт. 
Резиновая уплотнительная манжета отверстиями) — 1 шт; Кольцо-фланец отверстиями) — 1 шт; Хомут — 1 шт; 
Болты — 8 шт; Прорезиненные шайбы — 8 шт;
Анкера забивные — 8 шт; 
Инструкция по монтажу — 1 шт; 
Упаковка — 1 шт.
Резиновая уплотнительная манжета отверстиями) — 1 шт; Кольцо-фланец отверстиями) — 1 шт;
Кольцо-фланец (со шпильками) — 1 шт; Хомут — 1 шт;  
Гайки — 8 шт; Прорезиненные шайбы — 8 шт; 
Инструкция по монтажу — 1 шт; 
Упаковка — 1 шт.
Резиновая уплотнительная манжета отверстиями) — 1 шт; Кольцо-фланец отверстиями) — 2 шт; Хомут — 1 шт;
Болты — 8 шт; 
Прорезиненные шайбы — 8 шт;
Гайки — 8 шт; Инструкция по монтажу — 1 шт;
Упаковка — 1 шт. 

Гермоввод ГВР Ф 159/200

Внутренний диаметр изделия Высота изделия Наружный диаметр изделия Количество установочных отверстий Масса изделия
Ф 159\200 мм 100 мм Ф 283 мм 12 1,6 ÷ 2,4 кг в зависимости от комплектации
Комплектация 1
Комплектация 1/1
Комплектация 1/2
Комплектация 2
Комплектация 2/1
Резиновая уплотнительная манжета отверстиями) — 1 шт; Кольцо-фланец отверстиями) — 1 шт; Хомут — 1 шт;
Болты — 12 шт; 
Гайки — 12 шт; Прорезиненные шайбы — 12 шт; 
Инструкция по монтажу — 1 шт; 
Упаковка — 1 шт. 
Резиновая уплотнительная манжета (без отверстий) — 1 шт; Кольцо-фланец отверстиями) — 1 шт; Хомут — 1 шт;
Саморезы — 12 шт; Прорезиненные шайбы — 12 шт; 
Инструкция по монтажу — 1 шт; 
Упаковка — 1 шт. 
Резиновая уплотнительная манжета отверстиями) — 1 шт; Кольцо-фланец отверстиями) — 1 шт; Хомут — 1 шт; 
Болты — 12 шт; Прорезиненные шайбы — 12 шт;
Анкера забивные- 8 шт; 
Инструкция по монтажу — 1 шт; 
Упаковка — 1 шт.
Резиновая уплотнительная манжета отверстиями) — 1 шт; Кольцо-фланец отверстиями) — 1 шт;
Кольцо-фланец (со шпильками) — 1 шт; Хомут — 1 шт;  
Гайки — 12 шт; Прорезиненные шайбы — 12 шт; 
Инструкция по монтажу — 1 шт; 
Упаковка — 1 шт.

Резиновая уплотнительная манжета отверстиями) — 1 шт; Кольцо-фланец отверстиями) — 2 шт; Хомут — 1 шт;
Болты — 12 шт; 
Прорезиненные шайбы — 12 шт;
Гайки — 12 шт; Инструкция по монтажу — 1 шт;
Упаковка — 1 шт. 

 

Гермоввод ГВР Ф 219/250

Внутренний диаметр изделия Высота изделия Наружный диаметр изделия Количество установочных отверстий Масса изделия
Ф 219/250 мм 100 мм Ф 335 мм 12 2,2 ÷ 2,7 кг в зависимости от комплектации
Комплектация 1
Комплектация 1/1
Комплектация 1/2
Комплектация 2
Комплектация 2/1
Резиновая уплотнительная манжета отверстиями) — 1 шт; Кольцо-фланец отверстиями) — 1 шт; Хомут — 1 шт;
Болты — 12шт; 
Гайки — 12 шт; Прорезиненные шайбы — 12 шт; 
Инструкция по монтажу — 1 шт; 
Упаковка — 1 шт. 
Резиновая уплотнительная манжета (без отверстий) — 1 шт; Кольцо-фланец отверстиями) — 1 шт; Хомут — 1 шт;
Саморезы — 12 шт; Прорезиненные шайбы — 12 шт; 
Инструкция по монтажу — 1 шт; 
Упаковка — 1 шт. 
Резиновая уплотнительная манжета отверстиями) — 1 шт; Кольцо-фланец отверстиями) — 1 шт; Хомут — 1 шт; 
Болты — 12 шт; Прорезиненные шайбы — 12 шт;
Анкера забивные- 12 шт; 
Инструкция по монтажу — 1 шт; 
Упаковка — 1 шт.

Резиновая уплотнительная манжета отверстиями) — 1 шт; Кольцо-фланец отверстиями) — 1 шт;
Кольцо-фланец (со шпильками) — 1 шт; Хомут — 1 шт;  
Гайки — 12 шт; Прорезиненные шайбы — 12 шт; 
Инструкция по монтажу — 1 шт; 
Упаковка — 1 шт.

 

Резиновая уплотнительная манжета отверстиями) — 1 шт; Кольцо-фланец отверстиями) — 2 шт; Хомут — 1 шт;
Болты — 12 шт; 
Прорезиненные шайбы — 12 шт;
Гайки — 12 шт; Инструкция по монтажу — 1 шт;
Упаковка — 1 шт. 

 

Манжета РУМ Ф 16/25


Внутренний диаметр изделия Высота изделия Наружный диаметр изделия Количество установочных отверстий Масса изделия
Ф 16/25 мм 66 мм Ф 90 мм 4 0,072 кг

 

Манжета РУМ Ф 32/40
 
Внутренний диаметр изделия Высота изделия Наружный диаметр изделия Количество установочных отверстий Масса изделия
Ф 32/40 мм 66 мм Ф 105 мм 4 0,102 кг

 

Манжета РУМ Ф 50/57
 
Внутренний диаметр изделия Высота изделия Наружный диаметр изделия Количество установочных отверстий Масса изделия
Ф 50/57 мм 75 мм Ф 136 мм 8 0,186 кг

 

Манжета РУМ Ф 63/75
 
Внутренний диаметр изделия Высота изделия Наружный диаметр изделия Количество установочных отверстий Масса изделия
Ф 63/75 мм 85 мм Ф 156 мм 8 0,254 кг

 

Манжета РУМ Ф 63/90

Внутренний диаметр изделия Высота изделия Наружный диаметр изделия Количество установочных отверстий Масса изделия
Ф 63/90 мм 95 мм Ф 170 мм 8 0,308 кг

 

Манжета РУМ Ф 90/110
 
Внутренний диаметр изделия Высота изделия Наружный диаметр изделия Количество установочных отверстий Масса изделия
Ф 90/110 мм 95 мм Ф 190 мм 8 0,426 кг

 

Манжета РУМ Ф 125/133
 
Внутренний диаметр изделия Высота изделия Наружный диаметр изделия Количество установочных отверстий Масса изделия
Ф 125/133 мм 92 мм Ф 214 мм 8 0,502 мм

 

Манжета РУМ Ф 159/200
 
Внутренний диаметр изделия Высота изделия Наружный диаметр изделия Количество установочных отверстий Масса изделия
Ф 159\200 мм 99,5 мм Ф 283 мм 12 0,818 кг

 

Манжета РУМ Ф 219/250
 
Внутренний диаметр изделия Высота изделия Наружный диаметр изделия Количество установочных отверстий Масса изделия
Ф 219/250 мм 99,5 мм Ф 335 мм 12 1,136 кг

 

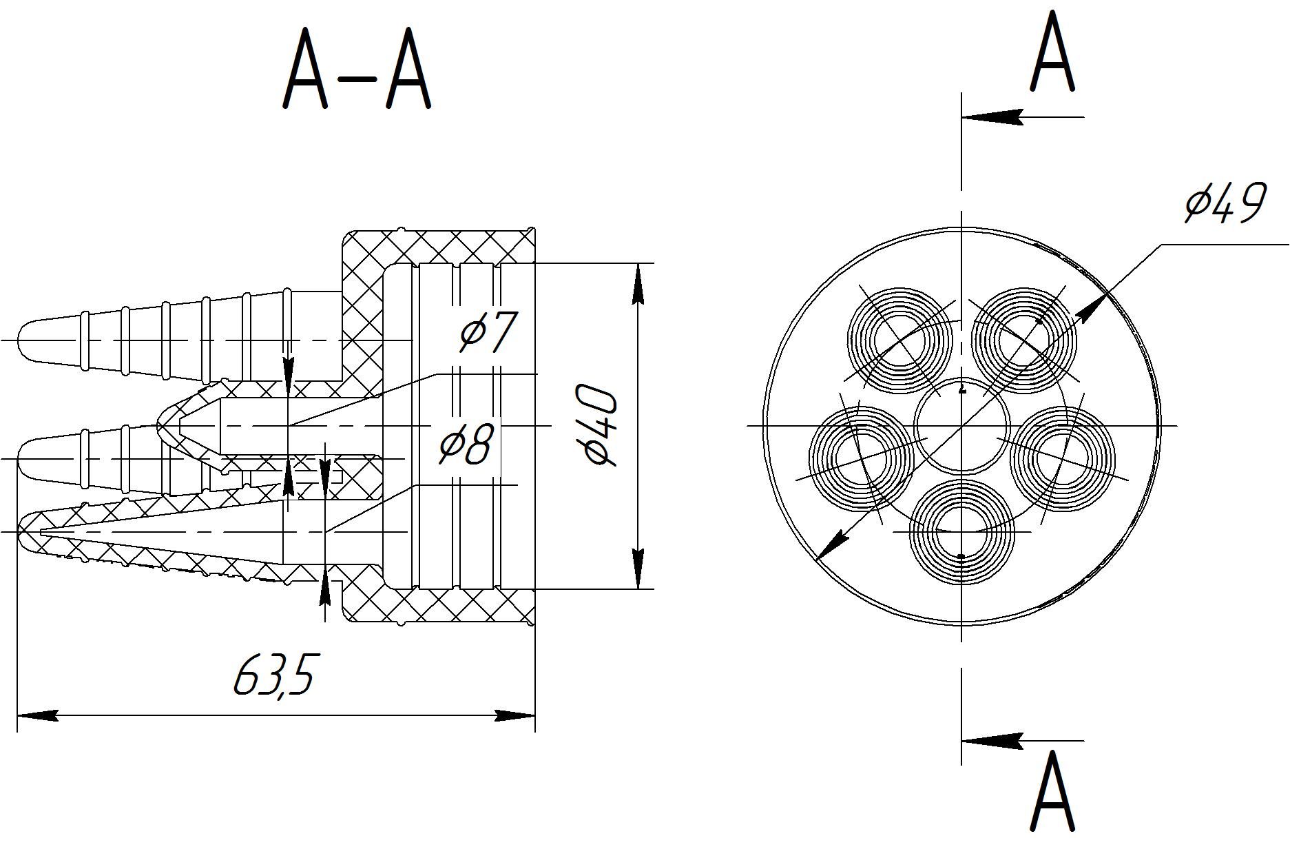
Гермоввод ГВкаб Ф 40/50

Внутренний диаметр изделия Высота изделия Наружный диаметр изделия Количество установочных отверстий Масса изделия Установочные отверстия для кабеля
Ф 40/50 63,5÷100 в зависимости от комплектации. Ф 49÷88 в зависимости от комплектации. 6 0,04÷0,206 кг в зависимости от комплектации. Ф от 2 до 8 мм — 5 шт; Ф 7 мм — 1 шт.
Комплектация 0 Комплектация 1 Комплектация 2 Комплектация 2/1

— Резиновая уплотнительная манжета-Ф 40 мм — 1 шт.
- Хомут пластиковый — 7 шт.
- Инструкция по монтажу — 1 шт.
- Упаковка — 1 шт.

 

— Резиновая уплотнительная манжета-Ф 40/50 мм — 1 шт.
- Хомут пластиковый — 7 шт.
- Инструкция по монтажу — 1 шт.
- Упаковка — 1 шт.

 

- Резиновая уплотнительная манжета отверстиями) - Ф 40/50 — 1 шт.
- Кольцо-фланец (со шпильками) — 1 шт.
- Хомут пластиковый — 7 шт.
- Гайки — 6 шт.
- Прорезиненные шайбы — 6 шт.
- Инструкция по монтажу — 1 шт.
- Упаковка — 1 шт.

 

-  Резиновая уплотнительная манжета (без отверстий) - Ф 40/50 — 1 шт.
- Кольцо-фланец отверстиями) — 1 шт.
- Хомут пластиковый — 7 шт.
- Саморезы — 6 шт.
- Прорезиненные шайбы — 6 шт.
- Инструкция по монтажу — 1 шт.
- Упаковка — 1 шт.

 

Гермоввод ГВкаб Ф 57/63


Внутренний диаметр изделия Высота изделия Наружный диаметр изделия Количество установочных отверстий Масса изделия Установочные отверстия для кабеля
Ф 57/63 мм 64÷104 мм в зависимости от комплектации. Ф 66÷101 мм в зависимости от комплектации. 8 0,06÷0,274 кг в зависимости от комплектации. Ф от 2,5 до 10 мм — 8 шт, от 2,5 до 15 мм — 1 шт.
Комплектация 0 Комплектация 1 Комплектация 2 Комплектация 2/1
— Резиновая уплотнительная манжета — Ф 57 — 1 шт.
- Хомут пластиковый — 7 шт.
- Инструкция по монтажу — 1 шт.
- Упаковка — 1 шт.
— Резиновая уплотнительная манжета — Ф 57/63 — 1 шт.
- Хомут пластиковый — 7 шт.
- Инструкция по монтажу — 1 шт.
- Упаковка — 1 шт.
— Резиновая уплотнительная манжета отверстиями) - Ф 57/63 — 1 шт.
- Кольцо-фланец (со шпильками) — 1 шт.
- Хомут пластиковый — 7 шт.
- Гайки — 6 шт.
- Прорезиненные шайбы — 6 шт.
- Инструкция по монтажу — 1 шт.
- Упаковка — 1 шт.
  — Резиновая уплотнительная манжета (без отверстий) - Ф 57/63 — 1 шт.
- Кольцо-фланец отверстиями) — 1 шт.
- Хомут пластиковый — 7 шт.
- Саморезы — 6 шт.
- Прорезиненные шайбы — 6 шт.
- Инструкция по монтажу — 1 шт.
- Упаковка — 1 шт.

 

Гермоввод ГВкаб Ф 89/110


Внутренний диаметр изделия Высота изделия Наружный диаметр изделия Количество установочных отверстий Масса изделия Установочные отверстия для кабеля
Ф 89/110 мм 80÷110 мм в зависимости от комплектации. Ф 100÷150 мм в зависимости от комплектации. 8 0,138÷0,496 кг в зависимости от комплектации. Ф от 3 до 12 мм — 8 шт, от 3,5 до 20 мм — 4 шт.
Комплектация 0 Комплектация 1 Комплектация 2 Комплектация 2/1
— Резиновая уплотнительная манжета - Ф 89 — 1 шт.
- Хомут пластиковый — 13 шт.
- Инструкция по монтажу — 1 шт.
- Упаковка — 1 шт.
 Резиновая уплотнительная манжета - Ф 89/110  — 1 шт.
- Хомут пластиковый — 13 шт.
- Инструкция по монтажу — 1 шт.
- Упаковка — 1 шт.
— Резиновая уплотнительная манжета отверстиями) — Ф 89/110- 1 шт.
- Кольцо-фланец (со шпильками) — 1 шт.
- Хомут пластиковый — 13 шт.
- Гайки — 8 шт.
- Прорезиненные шайбы — 8 шт.
- Инструкция по монтажу — 1 шт.
- Упаковка — 1 шт.
— Резиновая уплотнительная манжета (без отверстий) - Ф 89/110  — 1 шт.
- Кольцо-фланец отверстиями) — 1 шт.
- Хомут пластиковый — 13 шт.
- Саморезы — 8 шт.
- Прорезиненные шайбы — 8шт.
- Инструкция по монтажу — 1 шт.
- Упаковка — 1 шт.

Синонимы: гермоввод, герметичный ввод, гермоввод для кабеля, кабельный ввод, гермовводы размеры, кабельный гермоввод, гермоввод для трубы, гермоввод резиновый, гермоввод для гофры, монтаж гермоввод

Гермоввод Резиновый (ГВР) для труб, кабелей и проводов, купить и задать интересующие вас вопросы, можете у наших менеджеров, сделав запрос на электронную почту или позвонив в офис по телефону +7 (351) 777-94-98
 26680 просмотров

 

 


Политика конфиденциальности